QQ登录

只需一步,快速开始

登录 | 注册 | 找回密码

三维网

 找回密码
 注册

QQ登录

只需一步,快速开始

展开

通知     

查看: 1477|回复: 3
收起左侧

[求助] 这几个图形怎么画?

[复制链接]
发表于 2009-11-27 17:25:10 | 显示全部楼层 |阅读模式 来自: 中国浙江台州

马上注册,结识高手,享用更多资源,轻松玩转三维网社区。

您需要 登录 才可以下载或查看,没有帐号?注册

x
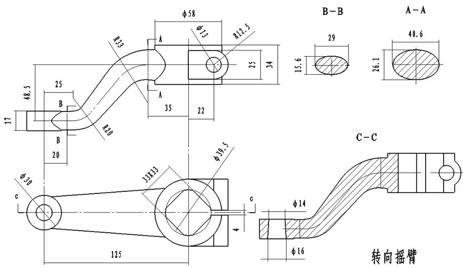
我是菜鸟,谢谢大家了
QQ截图未命名1111.jpg
888.jpg
999.jpg
发表于 2009-11-27 18:22:51 | 显示全部楼层 来自: 中国浙江丽水
这不是我发的图册上那几付图吗?
发表于 2009-11-28 17:10:13 | 显示全部楼层 来自: 中国浙江金华
前面那个就是吊钩,坛里有教程的,找找看。后面的画了一个看看是不是。6 f0 i% {* w& }6 G5 `) Q- `
' M1 c- q* y( |5 c) v& V! z
[ 本帖最后由 123456bbs999 于 2009-11-28 19:51 编辑 ]
转向摇臂.jpg
发表于 2009-11-28 17:56:45 | 显示全部楼层 来自: 中国浙江丽水

回复 3# 123456bbs999 的帖子

错了吧!四边形要45度的
发表回复
您需要登录后才可以回帖 登录 | 注册

本版积分规则


Licensed Copyright © 2016-2020 http://www.3dportal.cn/ All Rights Reserved 京 ICP备13008828号

小黑屋|手机版|Archiver|三维网 ( 京ICP备2023026364号-1 )

快速回复 返回顶部 返回列表