QQ登录

只需一步,快速开始

登录 | 注册 | 找回密码

三维网

 找回密码
 注册

QQ登录

只需一步,快速开始

展开

通知     

查看: 2014|回复: 10
收起左侧

[讨论] 一道题大家帮做做,谢谢

[复制链接]
发表于 2009-12-15 21:26:46 | 显示全部楼层 |阅读模式 来自: 中国浙江嘉兴

马上注册,结识高手,享用更多资源,轻松玩转三维网社区。

您需要 登录 才可以下载或查看,没有帐号?注册

x
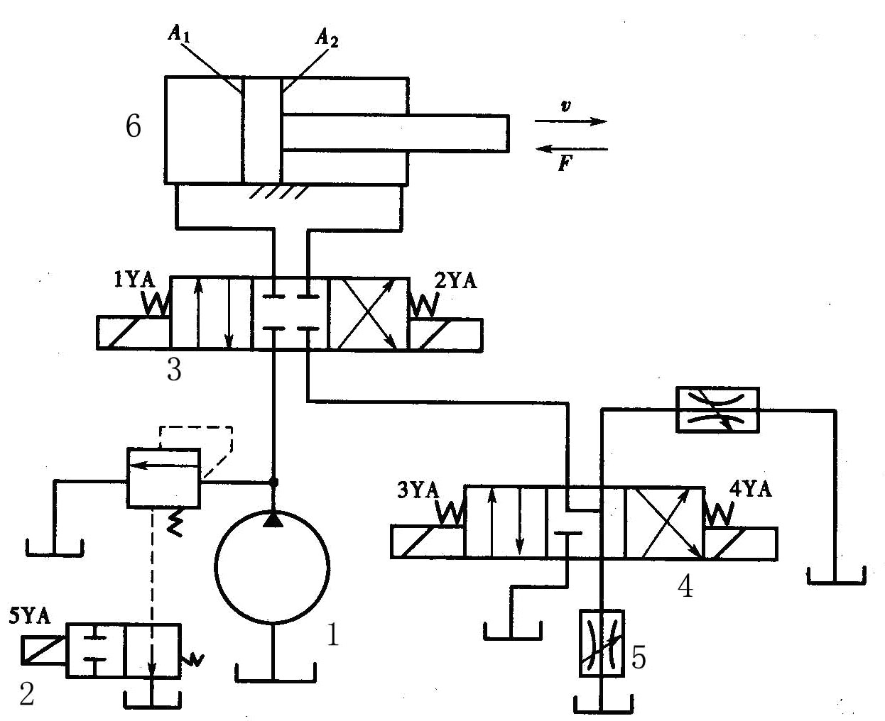
1YA 2YA 3YA 4YA 5YA
快进 + -+- -
工进
工进
快退
停止
泵卸荷
如图示该液压系统能实现快进
→Ⅰ工进→Ⅱ工进快退停止泵卸荷的工作要求,完成电磁铁动作顺序表(通电用“+”,断电用“-”)
" B. L; Y! S9 n) T& t8 f7 E8 O! a6 E1 P2 |  k
9 D/ K6 ^5 ]- H* e
) f7 K) m- D3 H5 e

4 q3 j/ S& E9 f4 U& k( q9 U) A1 K9 r0 a& I" Y9 r7 C6 n
11.jpg
发表于 2009-12-16 09:54:02 | 显示全部楼层 来自: 中国山东济宁
快进1,3通,1工进1,4通,2工进1通,快退2,3通,停止都不通,泵卸荷5通
- x- J* x' x& l7 A; E9 g2 a看看对不对

评分

参与人数 1三维币 +3 收起 理由
华氏911 + 3 技术讨论

查看全部评分

发表于 2009-12-16 13:52:19 | 显示全部楼层 来自: 中国上海
快进5不要通电吗?
发表于 2009-12-16 15:05:23 | 显示全部楼层 来自: 中国河北廊坊
2#回复正确,
9 U) s5 N) n/ ~9 i+ H回复3# 关键这个图画的5有点问题,当5断电时,应该是不通,即把5YA水平向右移动一个格。
: N9 u& v* J, X; d1 ^目前这个状态应该是通电状态。。

评分

参与人数 1三维币 +3 收起 理由
华氏911 + 3 技术讨论

查看全部评分

发表于 2009-12-16 15:05:57 | 显示全部楼层 来自: 中国湖北武汉
原帖由 发面馍馍 于 2009-12-16 13:52 发表 http://www.3dportal.cn/discuz/images/common/back.gif; [7 Q& Y# L3 q
快进5不要通电吗?

2 T! Q" E; d1 v# U" n7 v% H6 T5是启动时的卸荷阀,但在动作时都要通电才对,不然系统建不起压力。一孔之见
发表于 2009-12-16 16:37:52 | 显示全部楼层 来自: 中国甘肃兰州
这个原理图画的!是哪个机器上用的啊?
发表于 2009-12-16 18:45:01 | 显示全部楼层 来自: 中国浙江宁波
+ e. U0 f# w! Y) k- P
1YA

' E, ^* [% a: ]
2YA
/ o5 d5 A0 {3 T2 @
3YA
. ^3 V7 n- A/ L1 }- }; ?: h# g
4YA
* C# W# M* ~- v: x
5YA
  K) y$ A# O. E' g. o5 t

) i+ X5 I* Z0 o8 f. A/ O; f

3 |  k3 @7 d6 D" X3 N7 B
快进

  N# N; C; R6 @0 D: `- h3 p
+

* ]9 l, n" I* ~, C8 ?
-

- F; T' i8 C- I2 G
+
3 y1 l; W: Y' X9 @, B+ W
-

3 Q- _/ Y$ v" p9 N$ i: P
+

) \4 C, G  p. Q, S, U5 L, |5 h
1 p$ `- w& Z2 P  a0 @

1 y9 r4 m- y) J& c
工进

: M5 U% e/ O3 H2 W8 a
+

! V( S/ K! F. _8 v
-
* O1 b" K$ Z2 i) @
-
, a* `, m  O" ?! c+ o( a9 K
+
9 }/ L" y# S( v& W8 c# A: o) g
+

  \  N) e' o+ X% P

7 ~( u) N: _/ [/ W3 Z& s
5 p6 R% J% V7 P
工进
' s6 \2 J- D* c! r( Y: G5 \6 U
+

, Q7 b' E! f" z0 \- v
-
. a9 i0 Y; U; `$ c
-

1 c2 h/ J8 B* T$ n3 [2 F
-
# [' j" ~( m7 X
+

3 l2 ?2 ^/ d) A3 ?8 _* B
# Q2 H0 m8 b% v" J1 v' B
9 |- m8 \1 h& c+ ]) j. i9 g0 j( C
快退

- C) B$ |* _7 {  y7 Q# o" ?1 S
-
" a. f5 Q% ?0 Y( \# Q
+
' |' [' [( ^4 {. j6 a' V2 }- _
+
2 A" x# o$ W2 g+ z
-

; I4 |% d; O+ ]( ^5 Z  S! k: z1 e
+
; b* i( N: q) S1 w2 p2 s

# g& _9 B& Z& Z, i

% U& d+ h; {5 x. |% \
停止

$ v% Z0 Z. O3 q' [$ u$ H& M, @
-

, W2 g% i# n3 ^8 l9 J
-
5 w8 H& ~% M( q9 }. u
-
& s) F2 E6 w2 @
-
; i. S( M9 b( j  L% ?
+
0 D( J: g8 D6 v  s; y
3 u) E- o6 d7 p+ u& X1 Z

/ g& S% u0 @$ d; l# ^
泵卸荷

6 L% X$ ?) Q6 B8 n
-
2 X% i" Q" B7 w
-

. F! F# ]+ Z0 W7 x: X, w! N% p3 S1 X
-
. p" `' [: ~4 v! d$ R9 k8 ]
-

6 p5 S- T1 V% \& Q$ H: }7 U* r
-

, m. p# R& L/ g, ?4 _) h
: I; x2 @! s  q) y' f

$ r5 C3 N6 B: ^9 F' B7 g: p. S

8 }  ?* F7 u* u2 W3 C; F7 t" n$ P3 [5 H# F$ `3 c# K. S

3 v" t( {' C% C2 M; }) S8 ?$ w[ 本帖最后由 sealive_leafage 于 2009-12-16 18:52 编辑 ]
20091215_f83c799be97098fff5afLwc4stdFAHrB.jpg

评分

参与人数 1三维币 +3 收起 理由
华氏911 + 3 技术讨论

查看全部评分

发表于 2009-12-16 19:58:30 | 显示全部楼层 来自: 中国浙江湖州
一般情况下,“停止”与“泵卸荷”是一回事。动作表上就用“停止”,不再另设“泵卸荷”,“停止”时5YA也不通电。其它动作七楼的表格是正确的。

评分

参与人数 1三维币 +2 收起 理由
华氏911 + 2 技术讨论

查看全部评分

发表于 2009-12-17 13:45:56 | 显示全部楼层 来自: 中国辽宁本溪
阀4使缸有三种速度。
5 |4 u* T) x. M1 F4 \: Q8 s/ y( D  N不节流(快速)。/ G! f, l9 U4 R& s3 E; q" b6 t( {
双节流(中位---中速)。+ @/ ?1 _7 A* t8 `) p
单节流(慢速)。

评分

参与人数 1三维币 +2 收起 理由
华氏911 + 2 技术讨论

查看全部评分

 楼主| 发表于 2009-12-21 15:24:41 | 显示全部楼层 来自: 中国浙江嘉兴
谢谢各位了   !!!!!!!
发表于 2009-12-21 18:34:14 | 显示全部楼层 来自: 中国河南郑州
9楼说的对,1工 1通,阀4在中位,2工 1、4通
发表回复
您需要登录后才可以回帖 登录 | 注册

本版积分规则


Licensed Copyright © 2016-2020 http://www.3dportal.cn/ All Rights Reserved 京 ICP备13008828号

小黑屋|手机版|Archiver|三维网 ( 京ICP备2023026364号-1 )

快速回复 返回顶部 返回列表