QQ登录

只需一步,快速开始

登录 | 注册 | 找回密码

三维网

 找回密码
 注册

QQ登录

只需一步,快速开始

展开

通知     

全站
5天前
查看: 1883|回复: 2
收起左侧

[已答复] 请问版主,UG能否进行复合剖???

[复制链接]
发表于 2010-2-2 23:00:15 | 显示全部楼层 |阅读模式 来自: 中国贵州黔西南布依族苗族自治州

马上注册,结识高手,享用更多资源,轻松玩转三维网社区。

您需要 登录 才可以下载或查看,没有帐号?注册

x
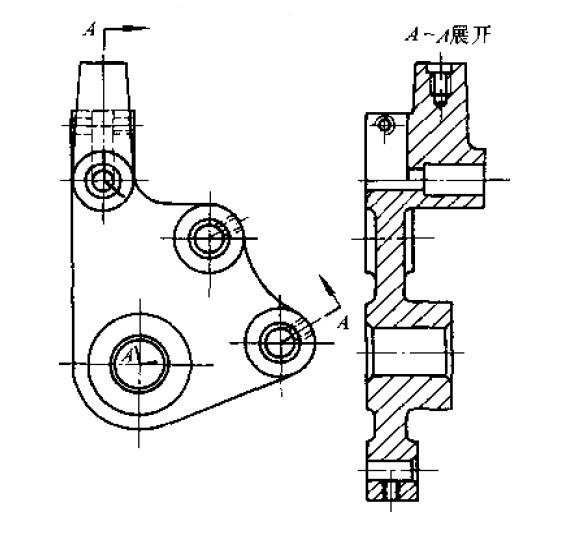
RT!!!附图!就是既有旋转剖又有阶梯剖的复合剖,请问能用UG一次性做出其展开图,如果能行的话又该如何进行操作呢?请多多指教!
p1.jpg
p2.jpg
发表于 2010-2-3 11:30:58 | 显示全部楼层 来自: 中国江苏泰州
本帖最后由 poxiangzi 于 2010-2-4 14:38 编辑
( \( v" ~1 b4 h. J& [
8 M  }/ X' b0 G试了一下第二种视图,不知是否合适;第一种复合剖的还没有试。
: K& V% K+ n2 @( [, k& z  q9 L
2 O  ~" V# m2 d5 _# F/ U% Q, M' p请大家补充。
进入命令的方式.gif
要点.gif
其它视图操作方法.gif

评分

参与人数 1三维币 +3 收起 理由
beyond2009 + 3 应助

查看全部评分

发表于 2010-2-3 21:34:21 | 显示全部楼层 来自: 中国上海
复合剖可以的,但估计没人告诉你,呵呵
发表回复
您需要登录后才可以回帖 登录 | 注册

本版积分规则

Licensed Copyright © 2016-2020 http://www.3dportal.cn/ All Rights Reserved 京 ICP备13008828号

小黑屋|手机版|Archiver|三维网 ( 京ICP备2023026364号-1 )

快速回复 返回顶部 返回列表