QQ登录

只需一步,快速开始

登录 | 注册 | 找回密码

三维网

 找回密码
 注册

QQ登录

只需一步,快速开始

展开

通知     

全站
7天前
查看: 2150|回复: 5
收起左侧

[求助] 轴承轴向定位

[复制链接]
发表于 2010-2-3 21:28:34 | 显示全部楼层 |阅读模式 来自: 中国陕西西安

马上注册,结识高手,享用更多资源,轻松玩转三维网社区。

您需要 登录 才可以下载或查看,没有帐号?注册

x
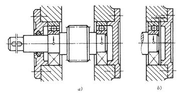
请问:一对角接触球轴承与一对向心球轴承怎样进行轴向定位?内圈和外圈分别固定行吗?
发表于 2010-2-4 10:28:54 | 显示全部楼层 来自: 中国山西太原
这两种轴承的定位方法请看下面图:
角接触轴承支承方式.jpg
角接触轴承支承方式1.jpg
向心轴承两端固定支承.jpg
向心轴承一端固定一端游动支承.jpg

评分

参与人数 1三维币 +2 收起 理由
hero2006 + 2 应助

查看全部评分

头像被屏蔽
发表于 2010-2-4 11:06:01 | 显示全部楼层 来自: 中国辽宁丹东
提示: 作者被禁止或删除 内容自动屏蔽
发表于 2010-2-4 12:44:34 | 显示全部楼层 来自: 中国辽宁沈阳
2#的图示一目了然,完全可以解决楼主的问题。6 N- T* c" j6 M3 M& A- [" V% `+ J
不过,还是想借此给有此类机械设计基础性问题的各位几点忠告:( t. W' a# r' Q. C2 l% a. ?
1.对于机械设计的技术人员来说,必须重视各种机械设计、工艺等相关资料的查找和使用,有问题先查手册;
# n- x2 l, P: M  e% m# i- g6 ^3 _2.应该养成与周围相关技术人员互动沟通和交流的良好习惯,相互学习,相互借鉴,否则,很难得以进步;
  ?+ \) d7 U) A, a% k. M6 ~3.在周围实在无法及时获得技术支持时,再向虚拟社会求助,否则,问题解决了,自己却提高不大。9 p7 B/ W7 g2 d
经验之谈,仅供参考,与大家共勉。

评分

参与人数 1三维币 +3 收起 理由
hero2006 + 3 技术讨论

查看全部评分

 楼主| 发表于 2010-2-10 23:11:58 | 显示全部楼层 来自: 中国陕西西安
手册中介绍的都是一组轴承的固定方法,而我说的是两组四个轴承并排使用(其中一对是向心球轴承,一组是角接触球轴承)的固定方法.
发表于 2010-3-4 11:40:38 | 显示全部楼层 来自: 中国北京
其实你说对了。
发表回复
您需要登录后才可以回帖 登录 | 注册

本版积分规则


Licensed Copyright © 2016-2020 http://www.3dportal.cn/ All Rights Reserved 京 ICP备13008828号

小黑屋|手机版|Archiver|三维网 ( 京ICP备2023026364号-1 )

快速回复 返回顶部 返回列表