QQ登录

只需一步,快速开始

登录 | 注册 | 找回密码

三维网

 找回密码
 注册

QQ登录

只需一步,快速开始

展开

通知     

全站
8天前
查看: 2676|回复: 11
收起左侧

[已答复] 控制电路小问题?不懂求教

 关闭 [复制链接]
发表于 2010-2-8 11:50:32 | 显示全部楼层 |阅读模式 来自: 中国江苏南京

马上注册,结识高手,享用更多资源,轻松玩转三维网社区。

您需要 登录 才可以下载或查看,没有帐号?注册

x
本帖最后由 wssmjf 于 2010-2-8 13:14 编辑
' ]0 A0 d4 G% P, y8 j5 c5 J6 b6 x2 k  P7 \' x, |  X! i) S4 g0 c3 z
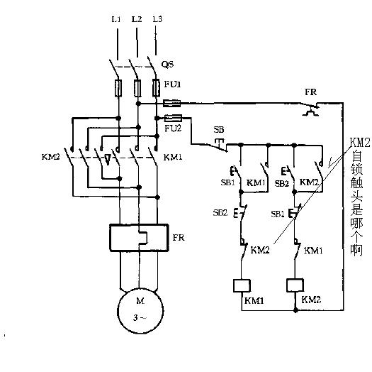
下面控制图中,那个自锁触头,哪个是互锁触头?谢谢还有个问题?4 ?( n: q% B" u" O$ D" d
就是SB2按钮按下去以后,是短暂连接还是一直就连接着呢?
8 w# O/ f/ e' ~$ ]5 m5 k5 R$ X
. u. d+ B# f* i8 y1 L还有个问题见第二图
控制线路.JPG
控制线路.JPG
发表于 2010-2-8 12:44:54 | 显示全部楼层 来自: 中国安徽安庆
1,图上在按钮SB2右边的那个KM2常开点式接触器KM2的自锁触点
% t" c: Q' V. i/ a( Z* e2,KM1和KM2的常闭点互为对方的互锁触点(KM1的常闭点为线圈KM2的互锁触点,KM2的常闭点为线圈KM1的互锁触点)
( [) w0 @- {5 {1 i' _3,此电路是一个典型的电机正反转电路,在实现反转时,无需停止,直接过渡。6 H8 s: t' ], G. V1 B, _
假设SB1为正转按钮,那么SB2为反转按钮。楼主这句话“就是SB2按钮按下去以后,是短暂连接还是一直就连接着呢?”
- T, |& B& Z1 K- T7 S- }# ], p* f其实,对于图示该电路,SB2只要按下去接通就可以松开了,因为,你知道,该电路不是有各自的自锁触点嘛,所以无需常按!(非点动控制电路)
发表于 2010-2-8 13:15:20 | 显示全部楼层 来自: 中国江苏南京
1、并联在SB1和SB2按钮上的KM1和KM2敞开触点为自保持触头。
: f9 Y9 r: X* r2、分别串联在KM1和KM2的常闭触电为KM1和KM2交流接触器互锁触头。
2 O" R$ V2 p2 O/ z' j4 x3、按钮触点一般是短时动合触点或短时动断触点。特殊情况下选用带自保持按钮是可以长时间动合或动断触点。
发表于 2010-2-8 13:27:28 | 显示全部楼层 来自: 中国湖北武汉
1.上面的KM2是自锁触点,因为按下SB2,KM2得电吸合后,这个KM2闭合,就将SB2短接了,相当于自己保持自己的工作状态,所以称为自锁触点。" |- {9 [! i; l, L, O9 Z' G
2.SB2按下后,KM2吸合,KM2的触点自锁,就不再需要按住SB2了。
( `3 q5 z9 k: f( \3.左边SB1表示按钮的常开触点,右边的表示SB1的常闭触点,这样的电路通常用于两个需要互锁的设备上,即两个设备不能同时打开。
发表于 2010-2-8 13:32:12 | 显示全部楼层 来自: 中国安徽安庆
本帖最后由 瞧你那小样 于 2010-2-8 13:35 编辑 0 y) t7 y7 B* ~: l6 |! X
  e" u; G- _  F/ ?
按钮,根据设计需要可以向厂家进行定制
7 }" {9 M( ~2 U+ n8 h. P我们一般的按钮,比方说启动按钮,由一对常开点和一对常闭构成,正如楼主图上所示的(只不过是一个按钮的两对不同的触点而已)。启动的地方接常开,用来停止控制电路的接常闭(在继电接触器电路中)。建议楼主,花点时间多看看一些基础的控制电路知识,这样会好点!(楼主肯定不是搞电的吧)
 楼主| 发表于 2010-2-8 13:58:14 | 显示全部楼层 来自: 中国江苏南京
恩,搞机械2年了,觉得电方面很是弱啊,就想平时不忙的时候看看电控制方面的资料。以后又问题还请各位楼上的朋友帮忙
发表于 2010-2-8 14:49:04 | 显示全部楼层 来自: 中国广东珠海
1   与按钮并联的km1.km2都是自锁触头。9 W( i9 X/ ~& U8 E
2  是按钮sb1的两对触点。$ A- `# B& p1 p1 n# S8 Q
2 L% q6 S. f0 C0 L! i% M
$ j. g) c8 W& ]. g1 a6 `: q+ v

& K2 [& a2 H- i
" X" g2 f6 v8 B( P$ g+ x1 r" C0 [* D/ T9 d
.
# V( d' }' k. h0 B& }- t  i* \  与按钮并联的km1.km2都是自锁触头。
发表于 2010-2-10 01:32:54 | 显示全部楼层 来自: 中国山东青岛
SB2是停止按钮,SB1一个是动和,另一个是动断。
发表于 2010-2-10 07:59:18 | 显示全部楼层 来自: 中国北京
比较典型的正反转电路。 电路中的与sb1 按钮并联的km1,常开触头就是km1线圈的自锁,与mk1线圈串联的km2常闭点就是,km1与km2的互锁。0 b2 S# Q6 L0 U& j9 A- U

1 j# u$ e. N7 g4 j( ~图2  sb1按钮在mk1这条回路中是启动按钮。用的是常开触点。 sb1串联在mk2电路中是常闭触点,它起着双重互锁的作用。   还有sb2按下后串联在km2回路常开点短时接通,不按时断开。   串联在km1回路的sb2是常闭点按sb2启动km2时暂时断开。    sb1或sb2  的常开和常闭触头实际是一个按钮,断开和接通是同时进行的。
发表于 2010-2-10 10:02:58 | 显示全部楼层 来自: 中国广东广州
典型的电机正反转电路。有按钮互锁及接触器互锁。还有自锁。
发表于 2010-2-10 10:12:03 | 显示全部楼层 来自: 中国广东清远
图1 常开那个KM2是自锁,图2左上SB1为常开,下面那个是常闭
发表于 2010-2-10 10:56:36 | 显示全部楼层 来自: 中国山东淄博
跟开关并联的一般都是自锁触点,串联的一般都是互锁触点,所以在这里SB2右边的KM2常开触点是自锁触点/ ?! h+ d" ~8 ]: W
单是这个开关来说,它是短暂连接,单是因为有了KM2的自锁作用,回路在SB2断开的情况下依然持续。; h( q* t5 V* j7 ?4 e, ?, n
左边的是常开,在有操作的时候回闭合,一般用于启动的作用。右边的是常闭触点,在有操作的时候会断开,一般用于停止的作用。 1# wssmjf
发表回复
您需要登录后才可以回帖 登录 | 注册

本版积分规则


Licensed Copyright © 2016-2020 http://www.3dportal.cn/ All Rights Reserved 京 ICP备13008828号

小黑屋|手机版|Archiver|三维网 ( 京ICP备2023026364号-1 )

快速回复 返回顶部 返回列表