QQ登录

只需一步,快速开始

登录 | 注册 | 找回密码

三维网

 找回密码
 注册

QQ登录

只需一步,快速开始

展开

通知     

查看: 1298|回复: 2
收起左侧

[求助] 如何读这个图

[复制链接]
发表于 2010-2-25 14:44:56 | 显示全部楼层 |阅读模式 来自: 美国

马上注册,结识高手,享用更多资源,轻松玩转三维网社区。

您需要 登录 才可以下载或查看,没有帐号?注册

x
本帖最后由 phpxp 于 2010-2-25 15:05 编辑 / h; \# c6 k, H+ A

# b& ~6 J, {+ F% b/ y# _2 P5 @ 未命名.JPG
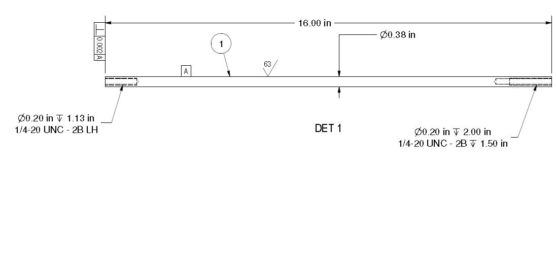
* d5 ^% j( |3 G4 o; {A 是什么意思?9 U8 X7 q  u# J# n( N; H$ p; E9 G& E
63是什么意思啊?
  T4 \* Z9 z: D6 [- B# CUNC和UNF什么区别?
发表于 2010-2-25 14:53:06 | 显示全部楼层 来自: 中国四川成都
A应是杆轴线作基准的代号,要求端面垂直+ k$ m8 C) q& z2 T
63还是6.3?总之是表面粗糙度,与国标意义应相同.
4 h. x7 O/ |8 C$ m  wUNC和UNF都是美标螺纹.具体本论坛有螺纹标准手册,你查查或等下一位解释.
发表于 2010-2-25 15:38:19 | 显示全部楼层 来自: 中国上海
UNC是美国统一螺纹的粗牙螺纹,UNF是美国统一螺纹的细牙螺纹。图中1/4-20 UNC 2B就是表示大径1/4in,每in20牙螺纹,精度等级为2B的粗牙螺纹。大径1/4的细牙螺纹每in牙数为28。
6 |2 E! V1 E* o! U8 x4 Y
* k/ G7 K5 F$ ?3 `5 D63是表面粗糙度值,不过与国际单位制不同,63的单位是“微英寸”,即63μin,相当于1.6μm。
发表回复
您需要登录后才可以回帖 登录 | 注册

本版积分规则


Licensed Copyright © 2016-2020 http://www.3dportal.cn/ All Rights Reserved 京 ICP备13008828号

小黑屋|手机版|Archiver|三维网 ( 京ICP备2023026364号-1 )

快速回复 返回顶部 返回列表