QQ登录

只需一步,快速开始

登录 | 注册 | 找回密码

三维网

 找回密码
 注册

QQ登录

只需一步,快速开始

展开

通知     

查看: 1676|回复: 4
收起左侧

[求助] 旋转展架的轴承安装问题请教,感谢大家的帮助!

[复制链接]
发表于 2010-3-12 16:25:04 | 显示全部楼层 |阅读模式 来自: 中国浙江杭州

马上注册,结识高手,享用更多资源,轻松玩转三维网社区。

您需要 登录 才可以下载或查看,没有帐号?注册

x
本帖最后由 feifeishu 于 2010-3-12 16:38 编辑
4 l8 N" H' j' ^, ?% Z% i2 v
& w2 ~% R* i# e2 k/ ^, H8 z; z亚克力旋转展示架,360度,顺时针,逆时针都可旋转。/ \! F: N9 v7 k" w$ A+ ]
见附件图示:: d- V6 r" Z! e) U% @! g0 n" |
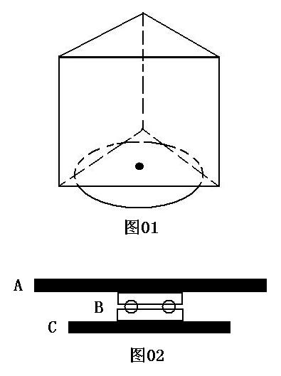
提问图示000.JPG 2 q& a4 i9 [+ w
图02中:1 k  j/ H2 y$ m" p! `2 S$ ]
A是展架上半部分与轴承接触的亚克力板(7mm厚度)。
4 F- S/ d% @: x5 ]5 a) z7 U0 r. aB是轴承+ y9 z& s  q  i5 ]; p' S
C是展架底座(7mm厚度亚克力板,展架放在桌子上,底座与水平桌面直接接触。)
! b! B3 @8 E3 v# c: E! C& Q2 ~9 R注:展架转动时轴承的上半边与展架的上半部分一起转动,轴承的下半边与展架底座不动。, W" e3 [  _  C5 K6 l
$ j) W/ E9 J3 ?0 z& k. I
求助问题:
- ^/ k0 E* i2 w+ x0 G" y1.使用的轴承是不是“平面推力球轴承”?单向还是双向的?
9 F$ j# m# s6 e# h9 H( B2.轴承(B)与上下(A、C)两块板用什么方法固定和连接?(最节约成本方案)
  X# h. G$ v! q- L! m# f9 q9 d3.需要购买哪些配件用于轴承的连接和固定?(最节约成本方案)
3 J/ w! B7 V- W' _% Z4.餐厅的桌面上摆放的“亚克力旋转桌牌”用什么轴承?固定和连接的方法是怎样的?
9 i9 e9 ], C" p) O6 O9 w9 y2 P本人是个外行,还请高手指点,详细,通俗易懂,最好有安装图解,感恩不尽!" |; z" p" ]- k& A- p& g
如果能留个QQ方便联系,谢谢!
3 k- X! H% s9 Y, `本人QQ:526079541
发表于 2010-3-12 20:49:39 | 显示全部楼层 来自: 中国湖南岳阳
请到饭店去仔细看看旋转桌面下的那个推力轴承,再问问哪里有买。5 K9 N7 o% ?3 D: g# {) l8 m1 J
最简单的固定方法可以用502胶粘接。
 楼主| 发表于 2010-3-13 18:17:15 | 显示全部楼层 来自: 中国浙江杭州
谢谢TKG-09  的热心帮助,! M4 X6 {. q0 T1 [
是用胶把轴承的上下两个盖粘在上下两个接触板子上就可以了吗?% L+ A9 ]: p  d& W$ I3 D# I
那如果有人用手向上抬起展架的上面部分就会把轴承分离了哦,1 Z* }" k( L/ f2 }  ]1 U$ C
中间是否需要一根轴来连接呢?那要买一根什么样的轴?怎样固定?谢谢
发表于 2010-3-13 19:25:24 | 显示全部楼层 来自: 中国湖南岳阳
可以在上、下两块板中间钻孔,用螺栓加垫片紧固;如果要将其固定在台面上,还需在台面钻同样的孔,一起固定。
$ u% ^6 \% t5 E5 P: E$ c5 x注意:锁螺母时不能锁死,需要留间隙(螺栓、螺母只是为了不让上、下板分离),为了防止螺母松动,可以用双螺母相互锁紧。

评分

参与人数 1三维币 +3 收起 理由
hero2006 + 3 应助

查看全部评分

发表于 2010-3-13 20:31:22 | 显示全部楼层 来自: 中国湖北襄阳
装配精度不高,上下都可以考虑采用焊接筒形钢板径向定位,轴向也可考虑相同方式。
发表回复
您需要登录后才可以回帖 登录 | 注册

本版积分规则


Licensed Copyright © 2016-2020 http://www.3dportal.cn/ All Rights Reserved 京 ICP备13008828号

小黑屋|手机版|Archiver|三维网 ( 京ICP备2023026364号-1 )

快速回复 返回顶部 返回列表