QQ登录

只需一步,快速开始

登录 | 注册 | 找回密码

三维网

 找回密码
 注册

QQ登录

只需一步,快速开始

展开

通知     

查看: 1487|回复: 9
收起左侧

[求助] 请教这个是什么阀

[复制链接]
发表于 2010-4-14 21:57:06 | 显示全部楼层 |阅读模式 来自: 中国浙江宁波

马上注册,结识高手,享用更多资源,轻松玩转三维网社区。

您需要 登录 才可以下载或查看,没有帐号?注册

x
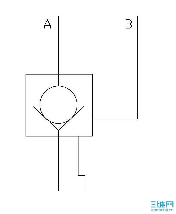
在日本一些样本看到这个阀,研究了一会,自己感觉应该是控制口和B是通的。. }* L- h% _2 H& X$ A# ~1 N
请教一下大家呢
Drawing1-Model.jpg
发表于 2010-4-14 22:20:57 | 显示全部楼层 来自: 中国上海
就是普通的外控外泄的单向阀
发表于 2010-4-14 22:34:24 | 显示全部楼层 来自: 中国江苏常州
是液控单向阀吧
 楼主| 发表于 2010-4-14 22:48:28 | 显示全部楼层 来自: 中国浙江宁波
应该不是普通的外控外泄的液控单向阀,因为看到样本上右下边的管子接压力油,B口起高压后,从他们的样本上看到执行机构的回油只能通过A口流通啊。
 楼主| 发表于 2010-4-14 22:52:07 | 显示全部楼层 来自: 中国浙江宁波
感觉应该是液控单向阀的控制口外接,是不是等同下面这个接法?
Drawing1-Mode2.jpg
发表于 2010-4-15 09:16:41 | 显示全部楼层 来自: 中国辽宁鞍山
液控单向阀
/ ^1 o& [& n* f/ C: }$ w& Z3 Vb为卸油口
头像被屏蔽
发表于 2010-4-15 12:15:05 | 显示全部楼层 来自: 中国湖北武汉
提示: 作者被禁止或删除 内容自动屏蔽
发表于 2010-4-15 19:06:12 | 显示全部楼层 来自: 中国山西大同
液控单向阀
发表于 2010-4-15 19:56:44 | 显示全部楼层 来自: 中国浙江绍兴
应该把总图贴上来!系统分析!
发表于 2010-4-15 20:47:58 | 显示全部楼层 来自: 中国辽宁沈阳
B是控制油口,右下是控制回路。个人看法。
发表回复
您需要登录后才可以回帖 登录 | 注册

本版积分规则


Licensed Copyright © 2016-2020 http://www.3dportal.cn/ All Rights Reserved 京 ICP备13008828号

小黑屋|手机版|Archiver|三维网 ( 京ICP备2023026364号-1 )

快速回复 返回顶部 返回列表