QQ登录

只需一步,快速开始

登录 | 注册 | 找回密码

三维网

 找回密码
 注册

QQ登录

只需一步,快速开始

展开

通知     

查看: 1374|回复: 4
收起左侧

[求助] 请问附图中4的作用

[复制链接]
发表于 2010-4-20 17:20:22 | 显示全部楼层 |阅读模式 来自: 中国浙江宁波

马上注册,结识高手,享用更多资源,轻松玩转三维网社区。

您需要 登录 才可以下载或查看,没有帐号?注册

x
本帖最后由 lklw 于 2010-4-21 18:22 编辑
4 Y/ m$ @- C/ T: A$ J& d6 U" P
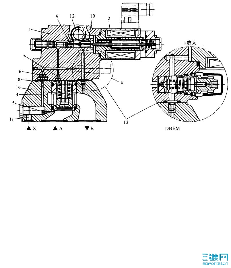
) T. D* E! o: k7 w请问附图比例溢流阀中4的作用是什么?7 f6 Z- E0 ]6 I: i
4与主阀心配合怎么样?
DBEM.JPG
发表于 2010-4-20 20:40:44 | 显示全部楼层 来自: 中国山东青岛
本帖最后由 csuce 于 2010-4-20 20:46 编辑
6 l5 ]* i7 G/ P9 O
3 }; `- o+ C. s* x+ p6 a这应该是一个电磁卸荷溢流阀吧,4应该就是主阀,如是常关阀的话,达到设置压力时通过7上面的溢流口推动9位置的先导阀,进而4阀上腔卸荷,4阀打开,系统卸荷,得电时4上腔直接卸荷,印象中是这个样子,具体的华德样本有详细说明。
发表于 2010-4-24 22:05:11 | 显示全部楼层 来自: 中国河北唐山
4是主阀芯,打开卸荷。
发表于 2010-4-24 23:16:21 | 显示全部楼层 来自: 中国安徽马鞍山
4就是主阀芯吧!配合要求应该是同心
发表于 2010-4-27 13:47:39 | 显示全部楼层 来自: 中国上海
应该是主阀芯!
发表回复
您需要登录后才可以回帖 登录 | 注册

本版积分规则


Licensed Copyright © 2016-2020 http://www.3dportal.cn/ All Rights Reserved 京 ICP备13008828号

小黑屋|手机版|Archiver|三维网 ( 京ICP备2023026364号-1 )

快速回复 返回顶部 返回列表