QQ登录

只需一步,快速开始

登录 | 注册 | 找回密码

三维网

 找回密码
 注册

QQ登录

只需一步,快速开始

展开

通知     

查看: 1854|回复: 2
收起左侧

[已解决] 英制内六角扳手

[复制链接]
发表于 2010-5-6 20:01:30 | 显示全部楼层 |阅读模式 来自: 中国福建厦门

马上注册,结识高手,享用更多资源,轻松玩转三维网社区。

您需要 登录 才可以下载或查看,没有帐号?注册

x
本帖最后由 asdfghjkl3377 于 2010-5-7 08:59 编辑 + F& y9 X+ r. |5 q+ |

# S- u% g2 j- G' [5 Y' ]) Z& H6 [1 X* H
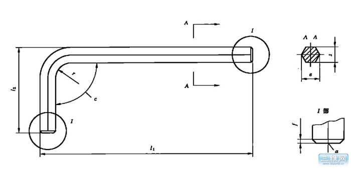
! Y: E; d- [, s2 w" Y  m9 J在GB/T 5356 中详细规定了各种规格公制内六角扳手的长度l1,l2,如下图
! f& z' n  Y: v) G/ [+ b9 t0 {, ~请问各位大侠有没有英制内六角扳手的长度标准8 e3 w6 P/ U4 c" y, ]
" W$ _/ H4 h2 d" \3 X/ ]# J, ?  U
截图01.jpg
截图02.jpg
发表于 2010-5-7 08:12:04 | 显示全部楼层 来自: 中国上海
美国标准中有规定内六角扳手的短边长度,长边长度内有规定,详见ASME B18.3-2003《六角键和花键圆柱头内六角有肩定位螺钉(英制系列)》。4 o7 h: I- q* o6 O( Z" l) E- V
http://www.3dportal.cn/discuz/viewthread.php?tid=240764

评分

参与人数 1三维币 +3 收起 理由
虎强 + 3 应助

查看全部评分

 楼主| 发表于 2010-5-7 09:00:09 | 显示全部楼层 来自: 中国福建厦门
非常感谢楼上的帮助。
发表回复
您需要登录后才可以回帖 登录 | 注册

本版积分规则


Licensed Copyright © 2016-2020 http://www.3dportal.cn/ All Rights Reserved 京 ICP备13008828号

小黑屋|手机版|Archiver|三维网 ( 京ICP备2023026364号-1 )

快速回复 返回顶部 返回列表