QQ登录

只需一步,快速开始

登录 | 注册 | 找回密码

三维网

 找回密码
 注册

QQ登录

只需一步,快速开始

展开

通知     

全站
8天前
查看: 2309|回复: 5
收起左侧

[已答复] 曲轴模具

[复制链接]
发表于 2010-5-18 09:43:53 | 显示全部楼层 |阅读模式 来自: 中国浙江衢州

马上注册,结识高手,享用更多资源,轻松玩转三维网社区。

您需要 登录 才可以下载或查看,没有帐号?注册

x
有谁做过曲轴模具的。。?) P6 W' ^: H0 l9 ?5 T& S4 z4 o) r
小弟需要一副 曲轴模具样板,这样可以模仿一下) w7 v/ P# F. C3 }3 t) D
是那种二冲程的曲轴  A) x* ^7 T' m, U5 n0 i. T7 G
& L0 W8 B" s! U' O: o% c

) E3 u: W3 e5 v( p% Q* p  或许有谁做过,能跟我交流一下也好!
" W( n" M# C. q, t小弟感激不尽
发表于 2010-5-18 23:27:01 | 显示全部楼层 来自: 中国湖北武汉
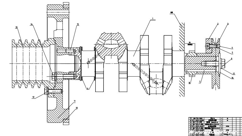
曲轴模具样板暂时没有,我这有一张曲轴的图纸,可供你参考。" F# c, ~. ^" F* h

0 s% o2 h+ L4 V$ @- U& T6 Y
! ~: L7 S' ~% R* D; B8 N. d/ W曲轴飞轮总成5 W- h: O; L  Y' K
曲轴飞轮总成.pdf (116.13 KB, 下载次数: 12)
 楼主| 发表于 2010-5-19 07:51:41 | 显示全部楼层 来自: 中国浙江衢州
2# BJDWL001 , j2 ^6 {3 f/ m
! p% ^4 D5 i# _" x& K9 ^
曲轴图纸,材料我都有的 ,
& r, J, u/ s! i3 @7 n& Z% E: c 现在主要讨论的是曲轴模具的设计
发表于 2010-5-29 14:31:55 | 显示全部楼层 来自: 中国广东广州
都是些零件加工。不必做模具呀
71.jpg
发表于 2010-6-26 11:00:16 | 显示全部楼层 来自: 中国湖北鄂州
学习了。。。
发表于 2010-6-26 11:08:27 | 显示全部楼层 来自: 中国浙江绍兴
金加工可以完成的% s( N" Y; X# e* A  O8 D
+ I, Y1 i  r9 L
浇铸出来的零件不知道机械性能是否可以满足要求
发表回复
您需要登录后才可以回帖 登录 | 注册

本版积分规则


Licensed Copyright © 2016-2020 http://www.3dportal.cn/ All Rights Reserved 京 ICP备13008828号

小黑屋|手机版|Archiver|三维网 ( 京ICP备2023026364号-1 )

快速回复 返回顶部 返回列表