QQ登录

只需一步,快速开始

登录 | 注册 | 找回密码

三维网

 找回密码
 注册

QQ登录

只需一步,快速开始

展开

通知     

全站
4天前
查看: 1609|回复: 9
收起左侧

[求助] 关于卸荷 溢流阀

[复制链接]
发表于 2010-5-27 11:21:21 | 显示全部楼层 |阅读模式 来自: 中国上海

马上注册,结识高手,享用更多资源,轻松玩转三维网社区。

您需要 登录 才可以下载或查看,没有帐号?注册

x
有没有一种阀兼具卸荷阀和溢流阀的功能,如果有请说下型号好么
发表于 2010-5-27 12:01:50 | 显示全部楼层 来自: 中国山东临沂
可使用电磁溢流阀。
发表于 2010-5-27 12:20:57 | 显示全部楼层 来自: 中国广东肇庆
有,打电话去气动液压厂问下
 楼主| 发表于 2010-5-27 12:31:40 | 显示全部楼层 来自: 中国上海
xie谢谢,我说的是指纯机械的
发表于 2010-5-30 16:21:32 | 显示全部楼层 来自: 中国四川成都
有,一顿有,我就用过
发表于 2010-5-30 16:26:56 | 显示全部楼层 来自: 中国河南平顶山
是卸荷溢流阀,有机械式的,效果不好,建议用电磁卸荷溢流阀
发表于 2010-5-30 19:45:57 | 显示全部楼层 来自: 中国山东济南
本帖最后由 simpluson 于 2010-5-30 19:47 编辑
0 L8 _5 e# `9 _% F) X
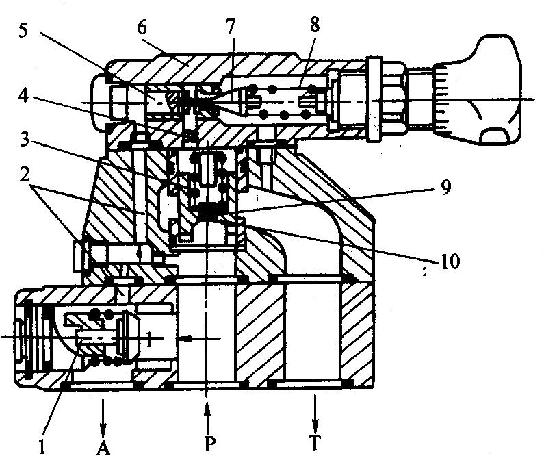
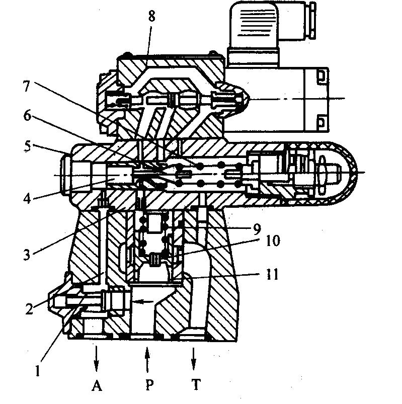
+ ~) u1 s0 |. O* W+ _. _DA型先导式卸荷溢流阀/DAW电磁卸荷溢流阀---结构原理
+ }( N6 y/ R' [, p22.7-22DA型先导式卸荷阀的结构原理图。图22.7-23DAW型先导式卸荷阀的结构原理图。7 Z4 H7 b! I" s* t+ \) O
DA型阀主要由先导阀、带主阀芯的主阀和单向阀组成,而DAW型阀还在先导阀上装有电磁阀。通径10mm的先导式卸荷阀的单向阀在主阀体内;而通径25mm32mm的先导式卸荷阀的单向阀在主阀底下的连接板内。
* W; D* [* v. r) ^6 o. f9 @) y9 g

! O2 C/ o* v6 y% x  }- b, c. O
2.JPG
+ M% `0 ^( k4 G1 `
22.7-22$ X: ^- |8 r4 r4 _
DA20-3-30/…
DA30-3-30/…型先导式卸荷阀结构原理图
* C( H' R+ L, M: @% i) Q' h
1—单向阀 2—通道 3—主阀弹簧 4—阻尼器

+ M5 `( Z  O# q) W7 T& o4 }: S+ @
5—活塞 6—先导阀 7—锥阀 8—调压弹簧 9—阻尼器 l0—主阀
7 S# r5 i9 z0 g9 z/ O
DA/DAW型阀应用于有蓄能器的液压系统中时,主要作用是给蓄能器补油;应用于高、低压双泵系统中时,可使低压泵卸荷。而DAW型阀利用其上的电磁阀,还可以在任何压力下使系统卸荷。
/ [1 d7 W" J" n# Y8 ^) a" H. p  B9 p下面以DA型阀为例,说明它们的工作原理(22.7-22)。液压泵输出的压力油进入P腔,经单向阀l流到A腔,实现泵向系统供油。这时A腔压力油又经通道2作用到活塞5上;P腔油经阻尼器9流到主阀10上腔,又经阻尼器4作用在锥阀7上。一旦系统压力达到先导阀6调定的卸荷压力时,把锥阀7打开,控制油经阻尼器94和锥阀8排到T腔。由于在阻尼器94上的压力损失,使主阀l0上腔压力小于P腔压力,主阀10在上下腔压力差的作用下打开,压力油从P腔流到T腔。这时由于A腔的压力油作用在
! m% o9 q7 N6 g! R1 h
7 F5 V# x) J$ M' l) S
1.JPG
9 b) w3 u; ^7 U8 L# ^/ n% \
22.7-230 c+ [0 z7 R2 H- S5 i
DAW10B2-30/…Y…NZ4
型先导式卸荷阀结构原理图

! E/ A3 Z3 ]$ u1 F7 e
1—阀 2—通道 3—阻尼器 4—活塞 5—先导阀 6—锥阀

$ L" {  k% i6 e
7—调压弹簧 8—电磁换向阀 9—主阀弹簧 10—阻尼器 11—主阀芯

( c- K% }" t" I( x* ]0 i活塞5和单向阀l上,使得锥阀7打开和单向阀关闭,P→T,实现液压泵的卸荷。
* e  Z3 H, D8 E( |由于活塞5的面积比锥阀7的有效面积大l7%,所以活塞上的作用力也比锥阀上的作用力大17%。若A腔的油液压力低于它相对应的切换压力差时,弹簧8将锥阀7关闭。这样主阀10上腔建立起压力,使主阀10关闭,泵输出的液流重新经过单向阀进入液压系统。) _9 R7 S! s5 U6 O$ E0 e; s

# m, A) t* i( {+ s" r9 _+ e2 ]

评分

参与人数 1三维币 +5 收起 理由
9619 + 5 应助

查看全部评分

发表于 2010-5-30 21:49:33 | 显示全部楼层 来自: 中国河北唐山
可以选用卸荷溢流阀。
 楼主| 发表于 2010-5-31 09:29:10 | 显示全部楼层 来自: 中国上海
回答的很好谢谢
发表于 2010-6-1 14:07:13 | 显示全部楼层 来自: 中国河北唐山
7楼说得很具体,这种阀可以实现楼主的要求。
发表回复
您需要登录后才可以回帖 登录 | 注册

本版积分规则

Licensed Copyright © 2016-2020 http://www.3dportal.cn/ All Rights Reserved 京 ICP备13008828号

小黑屋|手机版|Archiver|三维网 ( 京ICP备2023026364号-1 )

快速回复 返回顶部 返回列表