QQ登录

只需一步,快速开始

登录 | 注册 | 找回密码

三维网

 找回密码
 注册

QQ登录

只需一步,快速开始

展开

通知     

查看: 2480|回复: 13
收起左侧

[讨论] 力士乐a11v变量泵疑问请教各位专家

[复制链接]
发表于 2010-6-11 19:42:11 | 显示全部楼层 |阅读模式 来自: 中国四川泸州

马上注册,结识高手,享用更多资源,轻松玩转三维网社区。

您需要 登录 才可以下载或查看,没有帐号?注册

x
本帖最后由 youngpan 于 2010-6-11 19:44 编辑 ) O' M) f" a# a$ N" y: u0 ~' k$ r
& W$ K, F/ ]2 w  A5 Z6 o0 a
我是已经注册四年的老会员了,毕业后从事多路阀的设计,看见论坛上各位坛友讨论很积极,我也把自己遇到的一个疑问发上来,向各位专家们请教.6 o3 V7 t/ x4 K% Q( o6 V2 |5 N
1 S( I. [8 A- e$ v/ t
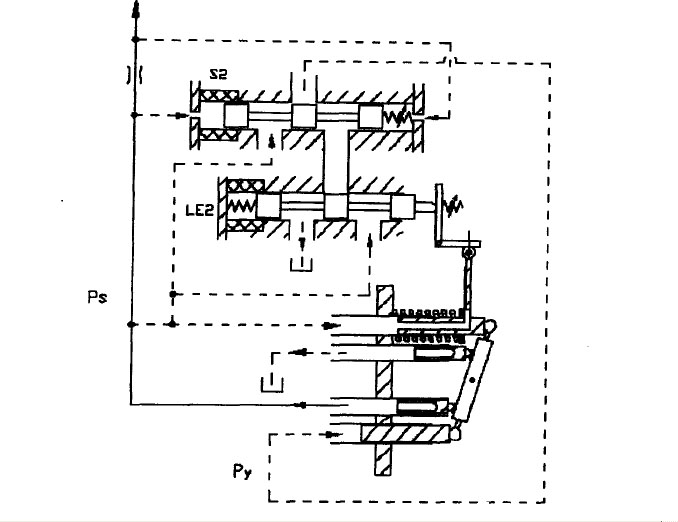
如图所示为A11VO  LDRS控制原理图和变量机构简图。从样本和其它资料上得知,压力切断阀优先于恒功率控制阀,功率阀优先于负荷; f& U: q4 f0 m% P9 H6 g
传感控制阀。但我有个疑问,据我理解当泵压力比负载压力高△P时,负荷传感阀达到平衡并处于中间位置(如结构简图所示)。
# x; _: Z/ ]. n$ [问题1:此时如果负载所需功率低于恒功率曲线所表示的最大功率,那么恒功率阀会不会处于如结构简图中所示的右位而使恒功率阀与油箱T之间通道打开?此时如果负载所需流量增大(或减少),负荷传感阀芯左移(或右移)使泵排量增大(减少),直至系统重新平衡,负荷传感阀芯继续回到中位,封死通往变量柱塞的通道?
4 x3 }. o$ }' K5 @5 _8 i7 }4 z7 A4 F3 E3 e  E) l5 x2 R; \
问题2:如果负载压力很高,所流量很大(但不超过泵最大流量)时,按前面所推导负荷传感阀芯将继续通过调整处于中位,封死通往变量柱塞的通道。因为所需功率超过功率阀芯设定值,杠杆推动功率阀芯左移打开泵口油P通过功率阀芯的通道,而负荷传感阀芯处于中位,那么我的理解是泵口来油穿过功率阀芯而被负荷阀芯堵死,根本不起作用?请问各位泵专家,我的理解哪里有错?据我从资料上看的解释,我理解的那种情况肯定是错的。
0 I  E* m" D, T. T* y7 h 2.jpg
3.jpg
发表于 2010-6-11 23:08:27 | 显示全部楼层 来自: 中国山西大同
本帖最后由 haoyunlai 于 2010-6-11 23:42 编辑 ! X: l8 _6 U) W' S+ q4 I
* ?* s& G$ x  z* ^0 ]
楼主上传的结构简图资料来自哪个资料?
' J5 D0 L' \% b楼主把带有负载传感阀、压力切断阀、恒功率阀的结构简图发上来,以便于分析。$ ~6 |6 i8 N7 q  E* e! |- i
* a0 m" ]+ }2 A6 Z5 e0 R* {
个人认为,楼主提出的两个问题真正的指到了“穴位”。个人也一直对楼主提出的两个问题困惑,借此大家要积极讨论一下。
发表于 2010-6-12 01:24:52 | 显示全部楼层 来自: 中国北京
我是已经注册四年的老会员了,毕业后从事多路阀的设计,看见论坛上各位坛友讨论很积极,我也把自己遇到的一个疑问发上来,向各位专家们请教.三维网技术论坛. i; n- J) m  d
- O2 V4 ?3 O$ ]/ k3 r. O/ @# ?" p, d$ j2 ~& I: b! D1 v
如图所示为A11VO  LDRS控制原理图和变量机构简图。从样本和其它资料上得知,压力切断阀优先于恒功率控制阀,功率阀优先于负荷传感控制阀。但我有个疑问,据我理解当泵压力比负载压力高△P时,负荷传感阀达到平衡并处于中间位置(如结构简图所示)。你的理解不对,负载传感阀的中位封闭状态是一种浮动状态,负载压力的变化会波动阀芯的位移,负载压力+△P与泵出口压力变化时,阀芯处于变量活塞控制油路与高压油路之间波动.
1 V- }; D; l1 r8 ], a+ x问题1:此时如果负载所需功率低于恒功率曲线所表示的最大功率,那么恒功率阀会不会处于如结构简图中所示的右位而使恒功率阀与油箱T之间通道打开?此时如果负载所需流量增大(或减少),负荷传感阀芯左移(或右移)使泵排量增大(减少),直至系统重新平衡,负荷传感阀芯继续回到中位,封死通往变量柱塞的通道?三维网技术论坛& m! K+ `+ y  j2 R8 g& d3 v/ _$ F- b* e( M9 e  i$ @
0 z2 c- x3 u* _0 C: a. t2 I
问题2:如果负载压力很高,所流量很大(但不超过泵最大流量)时,按前面所推导负荷传感阀芯将继续通过调整处于中位,封死通往变量柱塞的通道。因为所需功率超过功率阀芯设定值,杠杆推动功率阀芯左移打开泵口油P通过功率阀芯的通道,而负荷传感阀芯处于中位,那么我的理解是泵口来油穿过功率阀芯而被负荷阀芯堵死,根本不起作用?请问各位泵专家,我的理解哪里有错?据我从资料上看的解释,我理解的那种情况肯定是错的。0 c0 \,
 楼主| 发表于 2010-6-12 07:52:07 | 显示全部楼层 来自: 中国四川泸州
本帖最后由 youngpan 于 2010-6-12 07:55 编辑 3 i' s4 s& Z2 C, }3 C

2 s4 ~. Q( O- p& V6 d5 d8 }谢谢3楼的同志。负载传感阀的中位封闭状态是一种浮动状态,负载压力的变化会波动阀芯的位移,那么请问负载传感阀芯中间那一段台肩宽度与阀体槽子的宽度是不是一样?还是阀芯宽一点?" ^' P, I$ X( s6 `% }; \7 o1 Q
0 i% H5 p% f& i8 I$ g1 L
你所说的浮动是个什么情况?是不是在开与关之间振颤?如果在控制油路与高压油路之间波动是不是意味着变量泵的斜盘也在相应的改变角度,不就出现了振动的不稳定?
发表于 2010-6-12 17:09:17 | 显示全部楼层 来自: 中国陕西汉中
是一样宽的,浮动的状态你说对了,就是在开与关之间震颤,轻微的压力波动对变量活塞的影响不大,因为在变量活塞与负载敏感阀之间有节流孔
发表于 2010-6-13 08:12:52 | 显示全部楼层 来自: 中国四川泸州
楼上的专家:
$ h+ t( |) d. D0 j4 Y    如果此一时刻泵工作于负载传感模式下,并且功率没有达到功率曲线。如果这时候负载压力突然增大使得功率需求pXQ大于恒功率曲线代表的值,此时负载传感阀和恒功率阀芯将如何自动调整?7 u2 b/ I) q" T

$ E. o: o2 E" n; Y& V0 {- r; b谢谢
发表于 2010-6-13 12:56:47 | 显示全部楼层 来自: 中国北京
负载决定压力,你说的负载压力突然增大也就是出口压力突然升高,没有达到恒功率的起调点时,泵还是在负载敏感阀的控制下工作,压力的升高达到恒功率的起调点时,功率阀开始工作,恒功率阀芯位移,关闭回油,打开控制油路,高压油进入控制油路,通过切断阀到达负载敏感阀,同时负载敏感阀在X口接入的高压油的驱动下处于控制油路开启状态,控制油通过节流孔到达变量活塞,推动变量活塞位移,减少泵的流量输出,来达到恒功率的实现
 楼主| 发表于 2010-6-13 15:15:40 | 显示全部楼层 来自: 中国四川泸州
我的理解是负载压力升高之前负荷传感阀芯处于未开状态,压力突然升高由于流量瞬时来不及变化,我假定它还维持原来值,那么泵出油压力(换向阀前压力)也会同步升高,仍维持负荷传感阀芯两端压力差△P,那么负荷传感阀芯仍然处于未开状态,那么恒功率阀来的控制油就通不过去?
5 x' r: V4 W9 w# \) a
% t8 u, x9 N; E8 x- R) H) ~请问我的理解哪里有误?
0 f) X" Z% T( d: h, ^) Y5 s2 k, x' Y; p) n! I, Q
或者是不是:  负载压力突然升高时,负荷传感阀芯LS压力+△P瞬间大于泵口压力P,则负荷阀芯移动打开结构图中控制柱塞与负荷阀芯右边阀腔的通道,而此时超过了功率,恒功率阀芯左移与泵口控制油相通,即通往变量活塞的油液为高压油使泵排量减少。这样对应于换向阀开口,流量小了压力更小,则负荷传感阀芯左边的力一直小于LS压力+△P,则负荷传感阀芯一直处于左边,即不起负荷传感作用。此时泵工作于恒功率模式。
1 b7 }/ s; D5 \) l4 K, ]0 Y/ H% N' ?! `+ f1 r% s
请问我第二种理解正确吗?
发表于 2010-6-13 19:01:39 | 显示全部楼层 来自: 中国山西大同
7楼,“同时负载敏感阀在X口接入的高压油的驱动下处于控制油路开启状态,”在此时泵出口的压力不也作用在负荷传感阀芯的另一侧吗?泵的出口压力小于X口的压力?
发表于 2010-6-13 23:19:08 | 显示全部楼层 来自: 中国北京
请注意原理图上泵出口和X口之间的节流阀(1),这个节流阀在原理图上是模拟实际工况中的(多路阀,节流阀)对流量的影响,在管路有节流的情况下,泵的出口和节流阀后部是有压差的存在,在负载压力变化的时候,这种变化不会很快通过节流阀影响到泵出口压力,在这样的情况下,X口的压力+△P是大于或者小于泵出口压力,也就是瞬间压力增大开启负载敏感阀控制油通路,在变量活塞位移,流量变化后,节流阀前后压差平衡时,负载敏感阀关闭,泵保持变化后的流量输出,在负载再次变化时,这个工作过程会再一次循环.直到达到恒功率阀工作起点
发表于 2010-6-13 23:21:46 | 显示全部楼层 来自: 中国北京
9# haoyunlai * {' J- ~( C  b+ v5 v

# H+ |& s. M, f2 E8 r0 }, p3 F请不要忘记△P的存在,泵的出口压力=负载压力+△P
发表于 2010-6-16 21:37:54 | 显示全部楼层 来自: 中国山西大同
楼上,是不是在恒功率阶段,总是泵的出口压力<负载压力+△P?
 楼主| 发表于 2010-6-17 08:56:41 | 显示全部楼层 来自: 中国四川泸州
我想应该是
发表于 2010-6-17 13:37:31 | 显示全部楼层 来自: 中国北京
对,恒功率阶段,总是泵的出口压力<负载压力+△P
发表回复
您需要登录后才可以回帖 登录 | 注册

本版积分规则


Licensed Copyright © 2016-2020 http://www.3dportal.cn/ All Rights Reserved 京 ICP备13008828号

小黑屋|手机版|Archiver|三维网 ( 京ICP备2023026364号-1 )

快速回复 返回顶部 返回列表