QQ登录

只需一步,快速开始

登录 | 注册 | 找回密码

三维网

 找回密码
 注册

QQ登录

只需一步,快速开始

展开

通知     

全站
2天前
查看: 1716|回复: 5
收起左侧

[求助] 求带位移控制及压力检测压力机工作原理液压原理图

[复制链接]
发表于 2010-10-21 20:59:19 | 显示全部楼层 |阅读模式 来自: 中国浙江杭州

马上注册,结识高手,享用更多资源,轻松玩转三维网社区。

您需要 登录 才可以下载或查看,没有帐号?注册

x
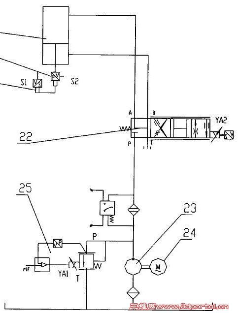
未命名.jpg 外行求助,如图,是如何工作的?谢谢
发表于 2010-10-23 10:59:19 | 显示全部楼层 来自: 中国辽宁本溪
本帖最后由 bohaiyan 于 2010-10-23 11:01 编辑
& l0 P$ Z4 N$ w9 U$ G) _* J; S% k  @6 E% Y* P) l9 g
既然S2画在了活塞杆端,那,它就应该是个力传感器(而不是液压上的压力传感器)。
& ^" ?! B2 n1 ?9 l% A9 [- Z- n它将检测到的力信号反馈给PLC,经计算后,再由PLC给比例溢流阀发出纠偏的控制信号。
$ R. ?/ j4 {8 f! S5 w! M应该是个较精确的闭环控制。

评分

参与人数 1三维币 +1 收起 理由
自流井 + 1 技术讨论

查看全部评分

发表于 2010-10-23 14:14:10 | 显示全部楼层 来自: 中国江苏南通
是一个闭环控制系统
( }, k9 z, K" m# `. a0 y$ z2 R( W件22是什么阀?
发表于 2010-10-23 14:15:49 | 显示全部楼层 来自: 中国浙江宁波
想拿收藏主题各分
发表于 2010-10-23 14:16:30 | 显示全部楼层 来自: 中国浙江宁波
收藏主题积分怎么拿啊?
发表于 2010-10-23 14:20:17 | 显示全部楼层 来自: 中国江苏南通
LS慢慢熟悉
发表回复
您需要登录后才可以回帖 登录 | 注册

本版积分规则

Licensed Copyright © 2016-2020 http://www.3dportal.cn/ All Rights Reserved 京 ICP备13008828号

小黑屋|手机版|Archiver|三维网 ( 京ICP备2023026364号-1 )

快速回复 返回顶部 返回列表