QQ登录

只需一步,快速开始

登录 | 注册 | 找回密码

三维网

 找回密码
 注册

QQ登录

只需一步,快速开始

展开

通知     

查看: 1681|回复: 8
收起左侧

[求助] 一道液压读图分析题 请大家帮帮忙 谢谢

[复制链接]
发表于 2010-11-21 20:48:21 | 显示全部楼层 来自: 中国浙江嘉兴

一道液压分析题 请大家帮忙 谢谢

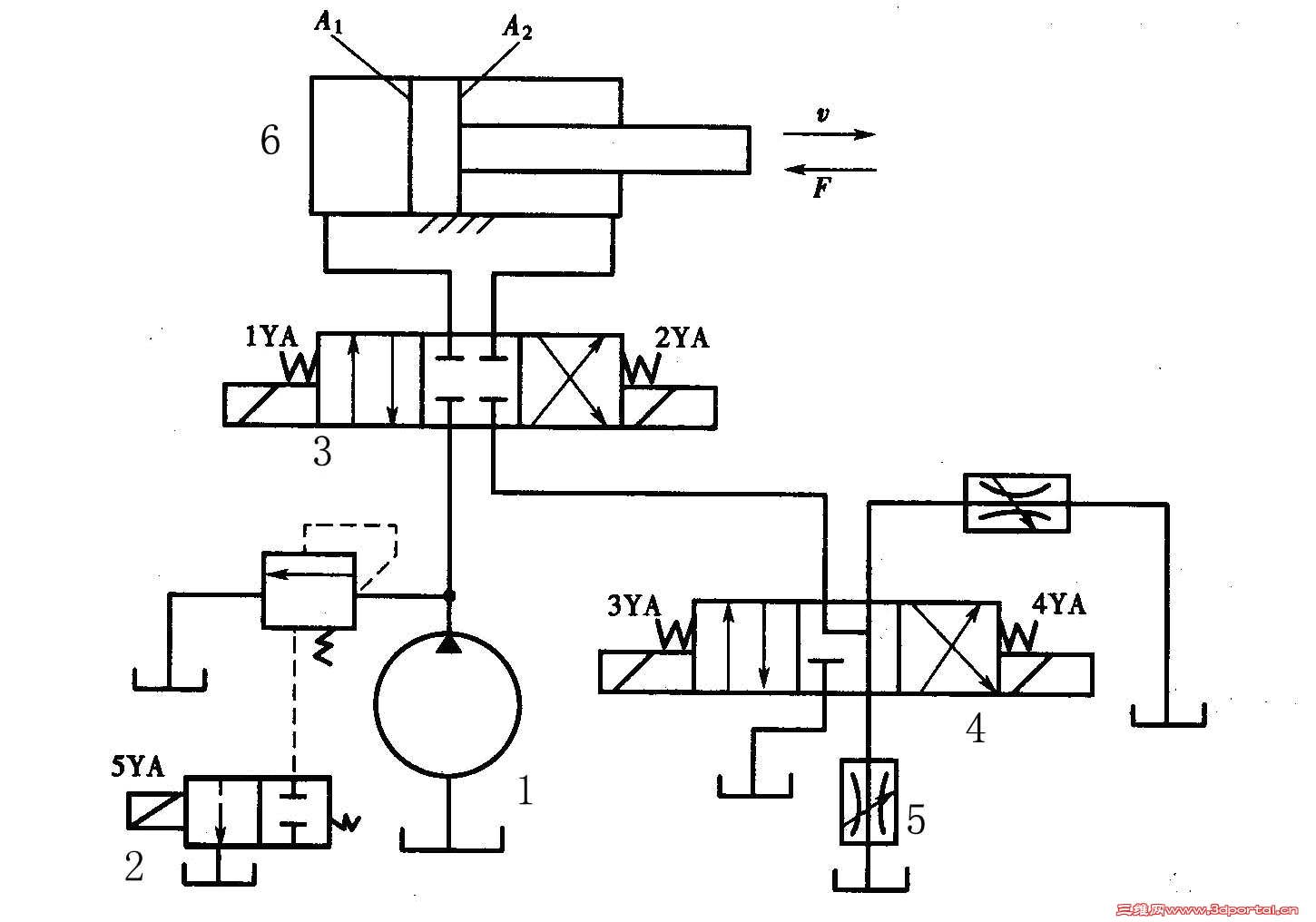
图示为一顺序动作控制回路,可实现“快进一一工进一二工进一快退一停止”顺序动作,说明系统是如何实现上述循环动作的。
未命名.JPG
 楼主| 发表于 2010-11-21 20:52:10 | 显示全部楼层 |阅读模式 来自: 中国浙江嘉兴

马上注册,结识高手,享用更多资源,轻松玩转三维网社区。

您需要 登录 才可以下载或查看,没有帐号?注册

x
图示为一顺序动作控制回路,可实现“快进一一工进一二工进一快退一停止”顺序动作,说明系统是如何实现上述循环动作的。. @+ M# J4 j1 t7 A

3 C* J8 ?+ V2 l' \+ ?
1111111.jpg
发表于 2010-11-21 23:26:48 | 显示全部楼层 来自: 中国内蒙古乌海
电磁铁2 x! j% {( T( V( l( @9 ?; g; ]% y
动作顺序        1YA        2YA        3YA        4YA        5YA
5 ~8 Y8 |. `2 w' B4 o快进        +        -        +        -        +
) s* @$ I' }1 j$ l3 R8 Z* EⅠ工进        +        -        -        -        +
& X1 e, O# d/ C  t7 oⅡ工进        +        -        -        +        +# \; m# c. g4 ]8 k: l7 {
快退        -        +        +        -        ++ S% [' c2 A) j- u1 _7 T
停止        -        -        -        -        +
2 f4 U5 t$ v" v/ `! h泵卸荷        -        -        -        -        -
发表于 2010-11-21 23:50:09 | 显示全部楼层 来自: 中国内蒙古乌海
电磁铁动作顺序表:
1 ~6 a2 b/ r# ]* {. _快进:   1DT得电,2DT失电,3DT得电,4DT失电;: f; k  y: y4 B* W! F2 ], o7 C. X
一工进:1DT得电,2DT失电,3DT失电,4DT得电;
3 x2 y% u% C$ ^; M( p) ]+ A% U二工进:1DT得电,2DT失电,3DT失电,4DT失电;
8 q/ x! U" a+ h" n) `快退:1DT失电,2DT得电,3DT得电,4DT失电
. ^' `' d+ f! s6 j  x2 [停止:1DT失电,2DT失电,3DT失电,4DT失电;
 楼主| 发表于 2010-11-22 09:17:01 | 显示全部楼层 来自: 中国浙江嘉兴
谢谢 4# zhjr560
发表于 2010-11-22 11:13:10 | 显示全部楼层 来自: 中国河南郑州
同意啥4#zhjr560
& P5 l* ?2 H8 r# q" g( N& @好强啊
发表于 2010-11-22 19:01:36 | 显示全部楼层 来自: 中国辽宁大连
一般教材上的回路??
发表于 2010-11-22 21:07:01 | 显示全部楼层 来自: 中国河北唐山
呵呵,你怎么知道是教材上的呀?
发表于 2010-11-22 21:27:05 | 显示全部楼层 来自: 中国河北唐山
电磁铁动作功能表:
: Z5 r; U3 z; e+ v7 A- P/ V快进:   1DT得电,2DT失电,3DT得电,4DT失电;
: p# Z2 g. N+ W& }3 f/ B一工进:1DT得电,2DT失电,3DT失电,4DT得电;
( J- o1 _7 y) M1 b7 }" _! h) M二工进:1DT得电,2DT失电,3DT失电,4DT失电;
5 \' k6 M) |6 F% s4 Z5 F/ F3 Y) z快退:1DT失电,2DT得电,3DT得电,4DT失电
$ D" r) Q& T% Z- |停止:1DT失电,2DT失电,3DT失电,4DT失电;
发表回复
您需要登录后才可以回帖 登录 | 注册

本版积分规则


Licensed Copyright © 2016-2020 http://www.3dportal.cn/ All Rights Reserved 京 ICP备13008828号

小黑屋|手机版|Archiver|三维网 ( 京ICP备2023026364号-1 )

快速回复 返回顶部 返回列表