QQ登录

只需一步,快速开始

登录 | 注册 | 找回密码

三维网

 找回密码
 注册

QQ登录

只需一步,快速开始

展开

通知     

楼主: 江南有雪
收起左侧

[已结束] 请所有“电子银行”用户取出所有存款,销户者跟帖领奖!

   关闭 [复制链接]
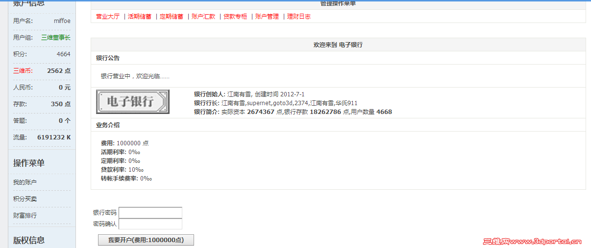
发表于 2016-9-28 09:42:55 | 显示全部楼层 来自: 中国浙江杭州
存款已取出,要截图才领得到补偿吗,可是我支取的时候没有截下来,还有用吗?
发表于 2016-9-28 15:08:21 | 显示全部楼层 来自: 中国北京
取了钱,但仍显示有存款,怎么回事?查活期和定期都是0了。奇怪?!
1.PNG
2.PNG
3.PNG
发表于 2016-9-29 20:49:18 | 显示全部楼层 来自: 中国河南郑州
利息损失为7500*66*0.0006=297
未命名.PNG
发表于 2016-9-29 21:04:37 | 显示全部楼层 来自: 中国辽宁大连
定期存款已取出,也已销户,但不知为何仍然显示有7500存款,麻烦版主处理
未命名1.PNG
发表于 2016-9-30 08:34:17 | 显示全部楼层 来自: 中国浙江温州
近期都没上,刚看见这个消息,存款取不出来了,咋办啊

发表于 2016-9-30 09:54:10 | 显示全部楼层 来自: 中国浙江杭州
银行密码错误,进不去了。 帖子“三维网技术论坛找回电子银行密码申请格式及收费标准 ”也已关闭无法申请。咋办?
发表于 2016-9-30 09:55:32 | 显示全部楼层 来自: 中国江苏南京
本帖最后由 qiuyao 于 2016-9-30 09:57 编辑

全提出来了,定期利息大概410个点吧。 已销户,截图如下:

不过提出后显示的还是存款,这怎么搞?


1.png
2.png
3.png

发表于 2016-9-30 12:00:14 | 显示全部楼层 来自: 中国山东烟台
我的没取呀
发表于 2016-9-30 13:17:42 | 显示全部楼层 来自: 中国广东东莞
已销户

发表于 2016-10-3 19:01:55 | 显示全部楼层 来自: 中国四川绵阳
看看。。。
发表于 2016-10-6 14:13:43 | 显示全部楼层 来自: 中国浙江金华
本帖最后由 yxp8012 于 2016-10-6 14:15 编辑

无法取出存款,还有400个呢
111.png
22.png
33.png
发表于 2016-10-7 19:15:05 | 显示全部楼层 来自: 中国上海
为什么手动结息后存款的钱取不出来,有14400呢。还在存款里面。http://www.3dportal.cn/discuz/forum.php?mod=image&aid=2296519&size=300x300&key=dba1e52cb3e8480d&nocache=yes&type=fixnone
01.PNG
发表于 2016-10-8 14:52:24 | 显示全部楼层 来自: 中国天津
我先取出活期存款,然后销户,但是怎么弄,账户的信息都不对,存款得信息一直有,变不过来。
发表于 2016-10-8 15:52:20 | 显示全部楼层 来自: 中国天津
我先取出活期存款,然后销户,但是怎么弄,账户的信息都不对,存款得信息一直有,变不过来。
发表于 2016-10-8 18:49:51 | 显示全部楼层 来自: 中国香港
坛主,进行了相关的操作,见如下截图。

但是存款数仍然显示为13500,不知道是何缘故,操作后,支取的链接不见了,定期记录为空白。

貌似楼上的几位也有同样的问题。

补偿计算 13500 x 0.0006 x (2016-8-16 - 2016-02-16) = 1474.20

发表于 2016-10-10 10:28:57 | 显示全部楼层 来自: 中国四川成都

1

1

2

2

3

3

4

4



来晚了,现在才看到,已销号,问一下:为什么最后取出定期的点数为0???
发表于 2016-10-10 16:35:25 | 显示全部楼层 来自: 中国湖北
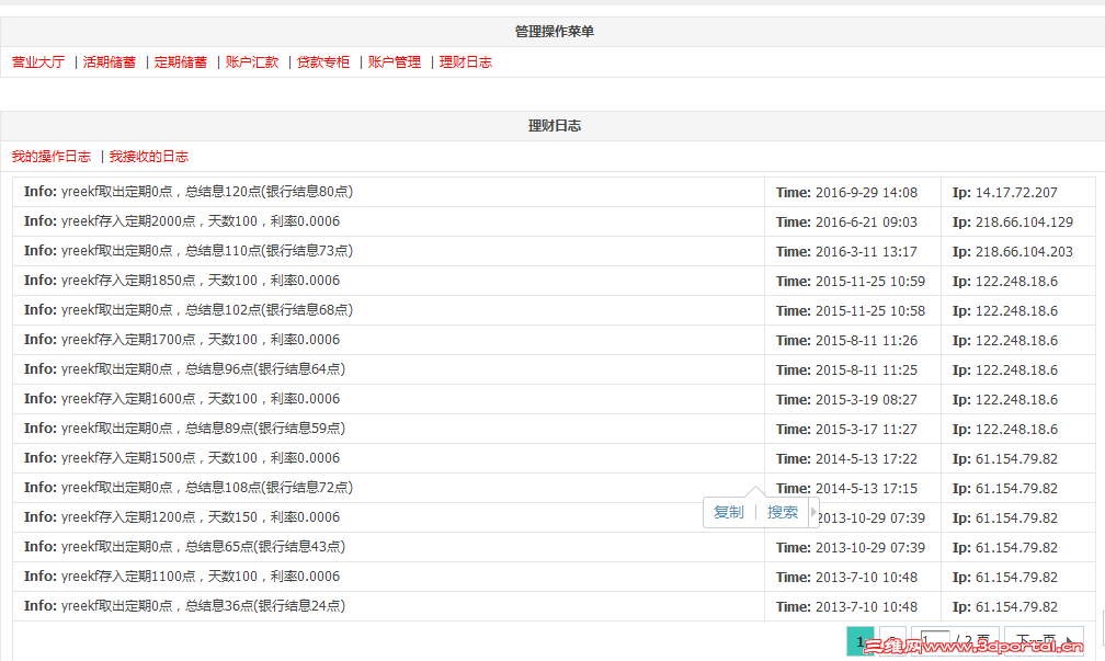
已取出定期存款,已销户,利息2000*102*0.0006=122,请补偿
三维技术论坛银行1.JPG
三维理财日志1.JPG
三维银行销户.GIF
发表于 2016-10-10 20:51:27 | 显示全部楼层 来自: 中国河北张家口
搜狗截图20161010204924.png 已销户,但存款无法领取
发表于 2016-10-11 17:57:44 | 显示全部楼层 来自: 中国山东青岛
今天刚看到,怎么取出来,找不到入口了
发表于 2016-10-11 22:00:10 | 显示全部楼层 来自: 中国重庆
全部取出并销户

QQ截图20161011215903.jpg

发表于 2016-10-12 08:47:05 | 显示全部楼层 来自: 日本
本帖最后由 xiejiasheng 于 2016-10-12 08:49 编辑

怎么找不到银行页面了。里面有定期和活期存款。

现在的图片

现在的图片
发表于 2016-10-12 12:53:45 | 显示全部楼层 来自: 中国浙江宁波
支取存款时,电子银行入口消失,存款1101无法取出。

发表于 2016-10-12 17:07:24 | 显示全部楼层 来自: 中国山东青岛
已经销户

发表于 2016-10-15 12:17:07 | 显示全部楼层 来自: 中国上海
已完成销户

发表于 2016-10-15 16:51:15 | 显示全部楼层 来自: 中国河南新乡
版主我的存款怎么提不出来啊

存款情况

存款情况
发表回复
您需要登录后才可以回帖 登录 | 注册

本版积分规则


Licensed Copyright © 2016-2020 http://www.3dportal.cn/ All Rights Reserved 京 ICP备13008828号

小黑屋|手机版|Archiver|三维网 ( 京ICP备2023026364号-1 )

快速回复 返回顶部 返回列表