QQ登录

只需一步,快速开始

登录 | 注册 | 找回密码

三维网

 找回密码
 注册

QQ登录

只需一步,快速开始

展开

通知     

全站
3天前
楼主: tian_93172
收起左侧

[讨论] 大家讨论一下这种阀的应用和优缺点

[复制链接]
发表于 2009-12-29 23:26:21 | 显示全部楼层 来自: 中国辽宁鞍山
原帖由 bhlz2004 于 2009-12-28 00:24 发表 http://www.3dportal.cn/discuz/images/common/back.gif
( O* X& \4 H  ^应该是单向平衡阀,外加安全溢流阀作用,虚线是泄油。

; h( C& I; N1 M) I正解。。SUN 平衡阀就是如此,贺德克的平衡阀是如此
发表于 2009-12-31 23:04:21 | 显示全部楼层 来自: 芬兰
6# 柠檬咖啡
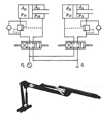
& k2 \$ n6 b! w2 d% N9 T. u我也同意咖啡兄的观点。比如在如图所示的液压起重机中用做conterbalance valve.) B- U& x& `2 @4 E& P8 F7 V% @
hydraulic crane.JPG
发表于 2010-1-2 21:45:23 | 显示全部楼层 来自: 中国陕西西安
可惜积分不够,不能下载看看
发表于 2010-6-9 10:00:28 | 显示全部楼层 来自: 中国河南洛阳
这个应该叫背压保持阀,用于立型油压缸,会自动下降或下降速度超过控制速度的液压系统中
发表于 2010-6-11 09:11:12 | 显示全部楼层 来自: 中国河南洛阳
个人觉得这个东西真的不错 有创意 国内没有这样的标准 一般都是老外做的
发表于 2010-7-6 21:25:20 | 显示全部楼层 来自: 中国江苏泰州
本帖最后由 bsavage 于 2010-7-6 21:32 编辑 ( z/ t0 o) M# o, A

: w% }  T2 A* s4 T7 F5 {平衡阀啊,也叫抗衡阀! r- g6 Q- u8 g7 h, j
我把产品样本和使用教材发上来给大家分享分享
_p3.GIF
CB11A-350bar.jpg
CB2A-350bar.jpg
CB17A-350bar.jpg
CB19A-350bar.jpg
CB11A--280bar.jpg
CB2A--280bar.jpg
CB17A-280bar.jpg
CB19A-280bar.jpg
K7$5SSD`CJZT$4D4FGF0WAD.jpg
}PH_G{_XZM@($L1%$`I%[GR.jpg

07a抗衡閥,平衡閥.rar

1.3 MB, 下载次数: 2

发表于 2010-12-8 10:55:14 | 显示全部楼层 来自: 中国四川绵阳
平衡阀可以说是集三阀于一身,参见图6。
未命名1.JPG
未命名2.JPG
发表于 2010-12-8 19:10:59 | 显示全部楼层 来自: 中国江苏扬州
,呵呵,这个阀我们用的很多的,是美国SUN公司的产品,叫抗衡阀(平衡阀),集三种机能与一身(节流阀+溢流阀+液控单向阀)
发表于 2010-12-8 21:56:46 | 显示全部楼层 来自: 中国广西柳州
这个不是定差溢流阀吗?起到压力补偿作用的
发表回复
您需要登录后才可以回帖 登录 | 注册

本版积分规则

Licensed Copyright © 2016-2020 http://www.3dportal.cn/ All Rights Reserved 京 ICP备13008828号

小黑屋|手机版|Archiver|三维网 ( 京ICP备2023026364号-1 )

快速回复 返回顶部 返回列表