QQ登录

只需一步,快速开始

登录 | 注册 | 找回密码

三维网

 找回密码
 注册

QQ登录

只需一步,快速开始

展开

通知     

楼主: cd0201
收起左侧

[求助] 问一个关于减压阀很简单的问题

[复制链接]
 楼主| 发表于 2008-11-4 20:34:14 | 显示全部楼层 来自: 中国广西河池
弄明白了:当压力达到减压阀的设定压力后,减压阀口即已关闭,减压阀到A点形成了一个密闭的容腔。也就的是假设没有泄露的情况下,A点的压力总是保持恒定的1MPa。对减压阀的结构弄清楚了就好理解了。
发表于 2008-11-4 21:52:42 | 显示全部楼层 来自: 中国浙江杭州
看了一堆人的分析,晕了。楼主的问题也很奇怪
, q; P/ o% x+ D9 w2 s
# c* z' C4 a6 N  J" A1 P减压阀是常通的,保持出口压力稳定,不像溢流阀是常闭的,使得进口压力稳定。所以如果系统压力是2MPa,减压阀设定是1MPa,A不堵住的话,A点必然稳定在1MPa;5 N1 q; E/ W5 T* K/ e
如果A堵住,根据静压原理,A点的压力应该是2MPa,流动才会产生压损。
  O7 A! u" y+ h1 @( ^% _' b当然前提是这个减压阀是理想的,不考虑泄露等因素
 楼主| 发表于 2008-11-4 22:44:34 | 显示全部楼层 来自: 中国广西河池

回复 27# xiaoyeren 的帖子

呵呵,又有人犯了我先前的错误。理想状态下,A达到1MPa以后,减压阀就已经闭死了,阻隔了系统与A点的通道,使减压阀到A点形成了一个密闭的容腔并保持了1MPa的压力。
发表于 2008-11-4 23:16:02 | 显示全部楼层 来自: 中国山东东营
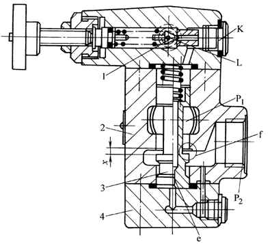
上个减压阀的结构图:
$ \  O6 F$ Y4 o" I% p7 u 减压阀.jpg
发表于 2008-11-5 11:48:06 | 显示全部楼层 来自: 中国陕西渭南

回复 1# cd0201 的帖子

理论上讲a点设多少,压力就是多少。
8 \, ?7 e" p# ^) @4 \, D, X, ^( Q减压阀减压的道理实际上用节流损失满足设定要求,共识应为:设定压力=系统压力-节流损失压力。当a堵住了,流经阀的流量趋向于0,阀应处于关闭趋势。
发表回复
您需要登录后才可以回帖 登录 | 注册

本版积分规则


Licensed Copyright © 2016-2020 http://www.3dportal.cn/ All Rights Reserved 京 ICP备13008828号

小黑屋|手机版|Archiver|三维网 ( 京ICP备2023026364号-1 )

快速回复 返回顶部 返回列表