QQ登录

只需一步,快速开始

登录 | 注册 | 找回密码

三维网

 找回密码
 注册

QQ登录

只需一步,快速开始

展开

通知     

查看: 2614|回复: 18
收起左侧

[讨论] 出个局部剖视图符合GB标准吗?

[复制链接]
发表于 2012-8-24 11:33:19 | 显示全部楼层 |阅读模式 来自: 中国浙江金华

马上注册,结识高手,享用更多资源,轻松玩转三维网社区。

您需要 登录 才可以下载或查看,没有帐号?注册

x
未命名.JPG + q/ A! F( l* S3 h0 ^/ J- p
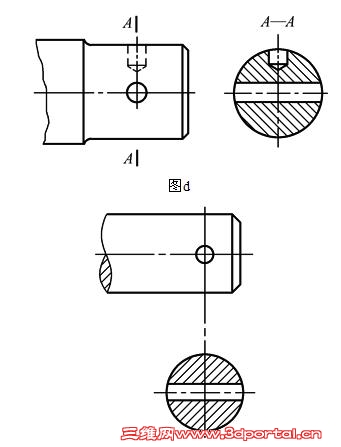
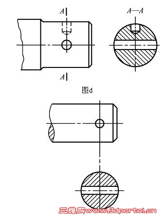
前天看见论坛中有个相关的帖子,大家请看看符合出图标准吗?
头像被屏蔽
发表于 2012-8-24 11:41:42 | 显示全部楼层 来自: 中国浙江宁波
提示: 作者被禁止或删除 内容自动屏蔽
 楼主| 发表于 2012-8-24 11:53:59 | 显示全部楼层 来自: 中国浙江金华
我这个剖视图,怎们看缺了根线,自己没有办法解决了,求解? 未命名.JPG
发表于 2012-8-24 13:41:01 | 显示全部楼层 来自: 中国广东深圳
hwawolf 发表于 2012-8-24 11:41 static/image/common/back.gif/ K2 L6 N2 g. z: \7 M3 K8 |
仅就那个表示界面的局部视图,是符合GB的,9 j: E( R. q$ i
其实制图时不要纠结于标准,标准是在变化的,大家都可以向标准 ...
  A# X5 Y/ f. @# {* }
基准符号是方的, 这个在哪个标准号里面   希望提供 谢谢
头像被屏蔽
发表于 2012-8-25 09:12:51 | 显示全部楼层 来自: 中国浙江宁波
提示: 作者被禁止或删除 内容自动屏蔽
发表于 2012-8-25 11:55:15 | 显示全部楼层 来自: 中国上海
重合断面图的轮廓线在机械类制图中通常为细实线。
发表于 2012-8-25 17:23:10 | 显示全部楼层 来自: 中国广东东莞
没有错,这个是机械制图中的重合断面图,不老叔话的对,重合断面图注意用细实线,移出断面图是用粗实线的,注意区分。
发表于 2012-8-26 07:02:41 | 显示全部楼层 来自: 中国上海
本帖最后由 w_hs1 于 2012-8-26 07:03 编辑 % n% U) j1 O6 x* {$ R
: P: n4 e6 y1 _
答楼上:倒底应该首先是软件要符合标准,还是标准去服从软件。标准是先有的,而且现在各国的的标准在主要部分都靠近iso,软件符合标准比较妥当,如果各软件各来一套,让标准如何适从?当然,对软件确实无能为力之初当属例外。只与本例,模型边线有粗线改成细实线乃举手之劳,只要稍稍动下手就可以符合国标,为何不做呢?如果软件公司能够注意到此问题,专为重叠断面图设置个选项就更完善了。软件就是在大家不断提出问题和要求中得到完善和发展。
发表于 2012-8-26 09:20:20 | 显示全部楼层 来自: 中国广东东莞
本帖最后由 repzk031 于 2012-8-26 09:23 编辑
4 m! p1 [4 h9 _9 G6 |& ^6 P. j+ M  Y" b$ T8 E
不以规矩,不成方圆,尽量按标准制图,规范自己,好点。
发表于 2012-8-26 10:28:55 | 显示全部楼层 来自: 中国上海
repzk031 发表于 2012-8-26 09:20 static/image/common/back.gif( z$ [1 ~% e/ y0 }+ L
不以规矩,不成方圆,尽量按标准制图,规范自己,好点。

) u6 L% W/ }7 N( o& \( n6 i& X& E( G) ], F' H$ d
严重同意你的观点。
( N. B+ l2 F( M如果真有创新,突破旧技术、达到一个新的境界,标准应该跟上技术的发展,这点谁也不会否认。, v! G7 w! ]  v5 z
但是就一个轮廓线粗细问题是新生事物吗?如果所有人都各行其是,不守规矩,不合标准也不能说,否则就是压制新生事物,岂不乱套。
 楼主| 发表于 2012-8-26 15:12:33 | 显示全部楼层 来自: 中国上海
多谢大家关注了,自己改了一下! 剖视图.jpg
发表于 2012-8-26 15:23:44 | 显示全部楼层 来自: 中国上海
居然不会游泳 发表于 2012-8-26 15:12 static/image/common/back.gif5 ^$ w7 q; u; ~' N* p; B% c) r, N
多谢大家关注了,自己改了一下!

# X( V" v9 s8 I+ R赞楼主一个。, X& Y6 {) O! b) G: U/ o
再提一个小小的建议,就是尺寸线注意尽量不要与剖面线平行。
 楼主| 发表于 2012-8-30 09:45:38 | 显示全部楼层 来自: 中国浙江金华
2.JPG 1.JPG 3.JPG 4.JPG . Q; _, t: k: ~) k) ?
请问高手们这些个工程图样,在SW中如何出图呀!
+ t* S- `$ @) G% ^' H% T
1.JPG
2.JPG
3.JPG
4.JPG
 楼主| 发表于 2012-8-30 10:25:38 | 显示全部楼层 来自: 中国浙江金华
辅助视图和裁剪视图可以

辅助视图和裁剪视图

辅助视图和裁剪视图
发表于 2012-8-30 12:38:20 | 显示全部楼层 来自: 中国江苏苏州
先不说这些别的能手工修改的。 solidworks工程图中的字体就不符合标标,这点很不好。Inventor工程图中用仿宋_GB2312图纸上会自动变成长仿宋体,而且直径符号等前缀符号、尺寸数字、公差之间的间距也比较符合国标。solidworks中对于国标支持不是很好,希望在以后的版本中能得到改善。
发表于 2012-8-30 12:55:59 | 显示全部楼层 来自: 中国辽宁大连
跟各位学习了,
发表于 2012-8-30 13:04:47 | 显示全部楼层 来自: 中国江苏苏州
SW支持ISO标准,支持GB标准的没几个软件
 楼主| 发表于 2012-8-31 10:46:07 | 显示全部楼层 来自: 中国浙江金华
本帖最后由 居然不会游泳 于 2012-8-31 10:47 编辑 - H* z# E, F6 Z# f& |
# A# U& ^8 d7 E( C- P& c! s: ~
画了一下,请大家看看
. `( [  t  G8 I裁剪视图加剖视图
1.1.JPG
发表于 2012-8-31 10:49:44 | 显示全部楼层 来自: 中国山东潍坊
设计库里面就有GB啊
发表回复
您需要登录后才可以回帖 登录 | 注册

本版积分规则


Licensed Copyright © 2016-2020 http://www.3dportal.cn/ All Rights Reserved 京 ICP备13008828号

小黑屋|手机版|Archiver|三维网 ( 京ICP备2023026364号-1 )

快速回复 返回顶部 返回列表