|
|

楼主 |
发表于 2007-8-14 09:00:15
|
显示全部楼层
来自: 中国台湾
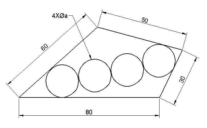
1. 作50x30x60x80之四方形#1
8 Q# a" l6 E( j; E2. 以CIRCLE(t t r) →1'st=tan #1之左斜線 2'nd=tan #1之底線 r=10 →作#2圓& y2 m2 t: `0 o' X# X, d
3. 以CIRCLE(t t r) →1'st=tan #1之右斜線 2'nd=tan #1之頂線 r=10 →作#3圓
1 t0 K& W; h- V* e4. 連接#1之對角線#4# R( n. B6 B5 b( \
5. 以OFFSET(t) →obj=#4 t=#3之圓心 →作偏移線#5/ `% }: O/ w, v. j) b" R, @7 E
6. 以OFFSET →obj=#2 d=30 →作偏移圓#6 並與#5交於A
: [' `! h, b6 x* c; K6 }' B- z- H7. 以CIRCLE →cen=A d=10 →作#7圓- F6 x3 S# b/ U8 T0 J( p
8. 以CIRCLE(t t r) →1'st=tan #2圓 2'nd=tan #7圓 r=10 →作#8圓
0 z! _/ R, |7 S; I9. 作#7之切圓#9 (圓心在#5上)/ j" Z( Q/ W. j5 a
10. 以SCALE(r) →obj=紅色部份 ref=四方形之底線 new=80 →將圖形縮放至正確尺寸 |
评分
-
查看全部评分
|