QQ登录

只需一步,快速开始

登录 | 注册 | 找回密码

三维网

 找回密码
 注册

QQ登录

只需一步,快速开始

展开

通知     

查看: 2451|回复: 12
收起左侧

[已解决] 立车工装设计

[复制链接]
发表于 2009-1-4 19:45:22 | 显示全部楼层 |阅读模式 来自: 中国江苏苏州

马上注册,结识高手,享用更多资源,轻松玩转三维网社区。

您需要 登录 才可以下载或查看,没有帐号?注册

x
用在立车上的一个工装,与分度盘相识,能以中心线准确旋转180度,关键是180度,分度精度线形和重复定位要求高.此工装适合加工大的盘类零件.- x) n+ x  [$ B* N3 x
如何设计?请高手赐教,最好能做个示意图,谢谢!
发表于 2009-1-4 20:25:54 | 显示全部楼层 来自: 中国湖北
先发一张图看看
发表于 2009-1-6 10:55:57 | 显示全部楼层 来自: 中国江苏常州
最好你先把图纸传上来,我们才可以帮你想办法呀!
 楼主| 发表于 2009-1-6 19:43:35 | 显示全部楼层 来自: 中国江苏苏州
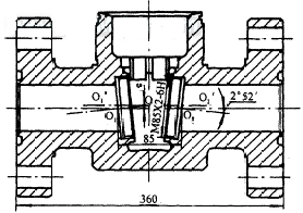
就是设计一个工装能加工此阀体的密封面.一次装夹完成.0 t3 \5 E) c1 D1 @3 E% t
加工一端密封面后,工装旋转180度(工装放在斜楔上)加工另一面.0 K. a$ ?2 P7 y/ t, d
) J3 B6 L, }7 O7 L% |
有人会没?
1.gif
 楼主| 发表于 2009-1-12 19:39:35 | 显示全部楼层 来自: 中国江苏苏州
有  高  手  没?
头像被屏蔽
发表于 2009-1-13 12:09:48 | 显示全部楼层 来自: 中国辽宁营口
提示: 作者被禁止或删除 内容自动屏蔽
 楼主| 发表于 2009-1-19 19:39:57 | 显示全部楼层 来自: 中国江苏苏州

回复 6# 扫街 的帖子

根据你的三维图,那做另一面的话不是要调头做.# L3 Y+ T* r2 ]1 a( i' M6 A2 @
$ F. Z4 x- q# a/ k
我要的工装是要能旋转180度,关键是180度要很准确.
头像被屏蔽
发表于 2009-1-20 14:36:22 | 显示全部楼层 来自: 中国辽宁营口
提示: 作者被禁止或删除 内容自动屏蔽
发表于 2009-1-20 16:24:26 | 显示全部楼层 来自: 中国江苏南京
按你那标的360的尺寸比例来看  这个东西也不大
6 z* v5 |( y; T) [; H' f+ ~干嘛一定要上立车?还一定要一次装夹加工完成?
5 h& Y4 h' l7 W可以用内孔两次定位装夹掉头完成啊
7 l9 q4 L& s: V9 \不能两次定位装夹的话,考虑用带旋转工作台的卧式镗床或卧加/ }8 f. O& Q: D, B$ f* b  E
镗成或者铣成 位置精度就看你设备的旋转分度精度了
) N8 N+ }; R" m7 @做专用夹具多费事啊
发表于 2009-1-20 16:26:59 | 显示全部楼层 来自: 中国江苏南京
按你那标的360的尺寸比例来看  这个东西也不大3 l& g! t8 }  v: P6 F9 x
干嘛一定要上立车?还一定要一次装夹加工完成?1 m0 t* s4 Q' A6 H+ E- W* p
可以用内孔两次定位装夹掉头完成啊% N3 M9 r9 d7 H$ \7 C5 [+ B7 d
不能两次定位装夹的话,考虑用带旋转工作台的卧式镗床或卧加/ X( |  q# h2 r( X
镗成或者铣成 位置精度就看你设备的旋转分度精度了
1 K" `, q/ N0 ^) c' S; d' }做专用夹具多费事啊
发表于 2009-1-20 16:29:00 | 显示全部楼层 来自: 中国江苏南京
不小心上面发重了
9 l9 t# p. D% B% C7 f8楼的好像有点问题  180度的分度怎么做的准确方便呢
头像被屏蔽
发表于 2009-1-20 17:34:57 | 显示全部楼层 来自: 中国辽宁营口
提示: 作者被禁止或删除 内容自动屏蔽
 楼主| 发表于 2009-1-20 22:00:07 | 显示全部楼层 来自: 中国江苏苏州
http://www.famens.com/html/2006/7-4/F16583367626.htm- X7 T) r' [! Z- h# U
看了这个你们就明白了
发表回复
您需要登录后才可以回帖 登录 | 注册

本版积分规则


Licensed Copyright © 2016-2020 http://www.3dportal.cn/ All Rights Reserved 京 ICP备13008828号

小黑屋|手机版|Archiver|三维网 ( 京ICP备2023026364号-1 )

快速回复 返回顶部 返回列表